

产品中心
订购热线
0317-7369666
联系草莓视频在线观看完整
河北草莓视频在线观看完整阀门有限公司
电话:0317-7369666/7279222
传真:0317-7276992
邮箱:hbhdfm@163.com
微信:ly79059787
地址:河北省沧州市吴桥经济开发区

名称:
分类:
咨询热线:0317-7369666
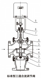
详细说明
主要技术参数:
| 公称通径 | 25 | 32 | 40 | 50 | 65 | 80 | 100 | 125 | 150 | 200 | 250 | 300 |
| 阀座通径mm | 25 | 32 | 40 | 50 | 65 | 80 | 100 | 125 | 150 | 200 | 250 | 300 |
| 额定KV | 8.5 | 13 | 21 | 34 | 53 | 85 | 135 | 210 | 340 | 535 | 800 | 1280 |
| 公称压力(MPa) | 1.6、2.5、4.0、6.4 | |||||||||||
| 行程(mm) | 16 | 25 | 40 | 60 | 100 | |||||||
| 配电动执行机构型号 | 361LSA-20 | 361LSB-30 | 361LSB-50 | 361LSB-65 | 361LSB-99 | |||||||
| 输入倍号 | 4-20mADC、1-5VDC | |||||||||||
| 电源 | AC220V 50HZ | |||||||||||
| 固有流量特性 | 线性、等百分比、快开 | |||||||||||
| 固有调比 | 1.250694444 | |||||||||||
| 泄漏等级 | IV | |||||||||||
| 法兰尺寸 | 符合JB/79.1(2)-94、HG20592-97、GB、ANSI、JIS、DIN等标准 | |||||||||||
| 阀体材质 | WCB、304、316、WC6、钛、镍、哈氏合金、Monel等 | |||||||||||
| 阀芯材质 | 304、316、420、钛、镍、哈氏合金、Monel等 | |||||||||||
| 工作温度℃ | -40~230 | |||||||||||
| 系列类型 | 常温型、中温型、波纹管密封型 | |||||||||||
电动执行机械技术参数:
| 型号 | 额定输出力 | 速度mm/s | 技术参数 | ||||
| PSL | 361L | PSL | 361L | PSL | 361L | PSL | 361L |
| 201 | 361LSA-08361LXA-08 | 1000 | 800 800 | 0.25 | 4.2 4.2 | 电源;AC220V 50HZ输入信号:DC4-20mA DC1-5V(信号线用屏蔽线) 输出信号:DC4-20mA 防护等级:IP67带手轮 | 电源:AC220V 50Hz输入信号:DC4-20mA DC1-5V(信号线用屏蔽线) 输出信号:DC4~20mA防护等级:IP65隔爆标志Exd ll带手柄 |
| 202 | 361LSA-20361LXA-20 | 2000 | 2000 2000 | 0.5 | 2.1 2.1 | ||
| 204 | 361LSA-30361LXA-30 | 4500 | 3000 3000 | 0.5 | 3.5 3.5 | ||
| 208 | 361LSA-50361LXA-50 | 8000 | 5000 5000 | 1 | 1.7 1.7 | ||
| 312 | 361LSC-65 | 12000 | 6500 | 0.6 | 2.8 | ||
| 320 | 361LSC-99 | 20000 | 10000 | 1 | 2 | ||
注:其它可选电动执行机构:扬州西门子,英国罗托克等。
| 项目 | 指标值 | ||
| 基本误差% | 配361L±2.5;;配PSL±1.0 | ||
| 回差% | 配361L±2.0;;配PSL 1.0 | ||
| 死区% | 配361L±3.0配PSL 1.0 | ||
| 始终点偏差% | 电开 | 始点 | ±2.5 |
| 终点 | ±2.5 | ||
| 电关 | 始点 | ±2.5 | |
| 终点 | ±2.5 | ||
| 可调范围 | 2.084027778 | ||
| 额定行程偏差% | 2.5 | ||
| 泄漏量 | 符合JB/T7387-94 IV级 小于阀的额定容量x10 -4 | ||
相关推荐
在线咨询